39 ไฟล์แนบ
รวมพล คนใช้ปีกนกยก 1.5-3 นิ้ว
ท่านไหนใช้ ปีกนกยกบ้าง ครับ เช่น ของ Auto4W
ออกมาโชว์ตัว พร้อมบอกข้อดีและข้อเสียหน่อยครับ
ใช้ปีกนกยกกับไม่ใช้แตกต่างกันยังไงจะได้เป็นแนวทาง
ให้กับเพื่อนๆ ที่กำลังจะยก
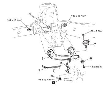
คุณสมบัติเด่นๆ ของชุดยกปีกนกนี้ ถูกคิดค้นขึ้นมาเพื่อแก้ปัญหาต่างๆ เช่น ช่วยแก้ปัญหาที่ต้ องรองสเปเซอร์ เพราะการรองสเปเซอร์จะทำให้มุมขององศาลูกหมากปีกนก ทำมุมหัก หรือบิดมากเกิน เกิดความเสียหาย
ขออนุญาติเจ้าของรูปในเวป 4x4 และเฮียตือครับ
ไฟล์แนบ 263978
ไฟล์แนบ 263979
ของผมเองครับ
step แรก งูๆปลา เจ็บแล้วจำ(ถ้าจะทำไม่เปลียนปีกนกอย่าทำเลย)
1.โช้ค Proferder ยก 2 นิ้ว 4 ต้น
2.สเปเซอรรองปีกนก
3.ก้อนรองแบบปรับองศา 2 นิ้ว
4.สเปเซอรรองเพลา
ตั้งศูนย์ ได้บ้างไม่ถึงกับดี กินยาง ขับแล้วพอได้ ไม่เห็นเหมือนที่พูดกันเลย
ยกแบบนี้ ไม่ยกดีกว่า อยู่เฉยๆ ไม่เสียเงินเสียทองไม่เจ็บ
แต่ทนไม่ไหว
อยากเจ็บ ยังไม่ถึงขั้ว ยังไม่สุด ของเดินหน้าต่อ
ถึงตรงนี้ หาข้อมูลจากเวปอื่นดีกว่า ไปดู TOYOTA บ้าง isuzu บ้าง ได้ข้อมูลมาเยอะ
คนที่เล่นรถจริงๆ จะแนะนำเลยให้เปลียนปีกนก แล้วชีวิตจะเปลียน ครั้งเดียวจบ
แต่ไม่รู้จบแบบไหนดี ต้องลองดู ต้องเริ่มใหม่
step 2
รอปีกนกยก เจ้าไหนก็ได้ขอให้เป็นปีกนกยก ตั้งนโม มือสอง มือสอง มายัง
โอกาสก็มาถึง ฟ้าประทานปีกนก มาแล้ว เป็นของ Auto4w ด้วยจัดโดยด่วนเลยไกลแค่ไหน
ก็จะตามไปเอาปีกนกมา ไปถึงอยุธยา กำลังถอดปีกนก ถอดออกเรียบร้อย
บอกช่าง ใส่ของผมต่อเลย จัดไปน้อง
1.ปีกนกยก 2 นิ้ว Auto4w ( เปลียนปีกนกยก )
2.โช้ค Proferder ยก 2 นิ้ว 4 ต้น
3.ก้อนรองแบบปรับองศา 2 นิ้ว
4.สเปเซอรรองเพลา
ติดตั้งเสร็จเรียบร้อย บ่าย 3 แล้ว ได้เวลากลับแล้ว
ถามช่างแล้วศูนย์ตั้งที่ไหน ไม่มีเครื่องตั้ง อ้าว
ไม่รอช้าจ่ายค่าเสียหายเสร็จ รำล่าเพื่อนที่ซื้อ(เพื่อนๆ ในเว็ปเรานี้ละ)
ต่างคนต่างกลับ ไม่รอช้า ไม่ตั้งศูนย์ก็ขับได้ ขึ้นรถขับกลับบ้าน
เปลียนแล้ว ชิวิตเปลียนจริงๆ ขับแบบไม่ตั้งศูนย์ ก็ยังดีกว่าปีกนกเดิมๆอีก
ถ้ารู้เปลียนปีกนกแล้วขับดีขึ้นแบบนี้ อดใจรอเก็บเงินซื้อปีกนกยก ดีกว่า
กลับมาตั้งศูนย์เรียบร้อย ขับได้เดือนเศษ OK แล้ว คอสะพาน คอไก่ คอไหนๆ
ก็นิ่มๆ สบาย สบาย แต่คนไม่รู้จักพอ 5555
step 3 แหนบเสริมไหมครับ
ใครๆ ก็บอกว่าทำให้นุ่ม จริงหรือเปล่า หรอกอีกหรือเปล่า
1.ปีกนกยก 2 นิ้ว Auto4w ( เปลียนปีกนกยก )
2.โช้ค Proferder ยก 2 นิ้ว 4 ต้น
3.ก้อนรองแบบปรับองศา 2 นิ้ว
4.สเปเซอรรองเพลา
5.แหนบเสริม
ไฟล์แนบ 264008
ไฟล์แนบ 264693
จัดไป แต่ทำไมมีหลายสำนักจักเลย จะเลือกยังไงดี เอาที่หนาๆ ดูแข็งแรงดีกว่า
ไม่รอช้า สั่งตรงจาก ร้านครอเซอร์4x4 สุพรรณบุรี
ถึงมือแล้วเปิดดู ยางรองแหนบเป็นยูรีเทน จริงหรือเปล่า
จัดการหาข้อมูลสิ ว่ามันดีจริงหรือเปล่า ค้นหาอยู่นาน
มีทั้งข้อดีและข้อเสีย ไม่รู้ว่าจะเชื่อใคร
เอามาเทียบกับระหว่าง แบบยาง กับ ยูรีเทน(ไม่รู้ของจริงหรือเปล่าดูไม่เป็น)
แบบยาง ให้ตัวดี นุ่ม
แบบพลาสติก แข็ง ไม่นุ่ม
จัดแบบ ยางดีกว่า เอาของที่ติดมาด้วยออก เอาแบบยางใสแทน
ลองขับดู ลงหลุดดู ขับยาวๆ ดู ดีขึ้น ด้านหลังคงจบแล้วไม่ทำอะไรอีกแล้ว สำหรับผมนะครับ
step 4 ด้านหน้า ทำอะไรได้อีกเยอะ เปลียนปีกนกยกแล้ว
ไฟล์แนบ 263983ไฟล์แนบ 263986
1.ปีกนกยก 2 นิ้ว Auto4w ( เปลียนปีกนกยก )
2.โช้ค Profender โมโนซับแท้งค์ 4 ต้น
3.ก้อนรองแบบปรับองศา 2 นิ้ว
4.สเปเซอรรองเพลา
5.แหนบเสริม
6.ก้อนรองหัวโช้ค 1 นิ้ว ขึ้น 2นิ้ว
7.สปริงโด STD ซื้อต่อมาอีกที
ติดตั้งเสร็จเรียบร้อย อะไรก็เข้าที่ เข้าทาง ขับสบายๆ
สำหรับยก 2 นิ้วโดยใช้ปีกนกยก Auto4w
จากการขับขี่รองหัวโช้คจะขับดีกว่าโช้คยก 2
และรองหัวโช้คสปริงเดิมๆ ก็ยังขับดีกว่าโช้คยก2
แต่เปลียนสปริงแล้วขับดีกว่าเยอะครับ
ตอนนี้ช่วงล่างไม่มีอะไรเสียหาย ที่เกิดจากการยก
แต่จะพังเพราะช่างที่ติดตั้งรีบและทำให้พังมากกว่า
เช่น
ยางเบ้าโช้ครองโช้ค (ไม่รู้เรียกถูกหรือเปล่า) ทำให้เกิดเสียง
ไฟล์แนบ 264041ไฟล์แนบ 264016ไฟล์แนบ 264017
แตกเห็นๆ
ไฟล์แนบ 264073
เกิดจากใสยางไม่ตรงกัับรูเป้าโช้ค หลายท่านอาจไม่ได้ดูเวลาเปลียนโช้ค
หรือสปริง 90% พังครับ
ยางรองสปริง เปลียนสปริงใหม่ควรเปลียนด้วยก็ดีครับไฟล์แนบ 264018
step 5 เปลียนสปริง IRONMAN STD 040s
หาข้อมูลอยู่หลายวัน สรุปได้ว่า IRONMAN ไม่มีของเบนชิน ดีเซล ขับ 2 จะมีขับ4
ถ้าเป็น STD 040S สปริงสูงขึ้นอีก 30-40 mm แต่ไม้รู้ว่าตอนนี้มีหรือเปล่า std จริงๆ
1.ปีกนกยก 2 นิ้ว Auto4w ( เปลียนปีกนกยก )
2.โช้ค Profender โมโนซับแท้งค์ 4 ต้น
3.ก้อนรองแบบปรับองศา 2 นิ้ว
4.สเปเซอรรองเพลา
5.แหนบเสริม
6.ก้อนรองหัวโช้ค 1 นิ้ว ขึ้น 2นิ้ว
7.สปริง IRONMAN STD 040s
8.สเปเซอปีกนกบน( ไม่ใส่ก็ได้คับ)
ไฟล์แนบ 264569
ไฟล์แนบ 264601ไฟล์แนบ 264025ไฟล์แนบ 264026
ไฟล์แนบ 264027ไฟล์แนบ 264028
ไฟล์แนบ 264035
ไฟล์แนบ 264037
ไฟล์แนบ 264036
ไฟล์แนบ 264038
สเปเซอรเพลา 2 cm
ไฟล์แนบ 264039
ความสูง ด้านหน้า 82 cm
ความสูง ด้านหลัง 88 cm
ลองขับแล้ว นุ่ม ทางตรงดีพอได้ การแซงระยะ 40-80 cmหรือประชิด ทางโค้งกลับรถหรือทางโค้งยาวๆ
สรุปรวมๆ ไม่ผ่านสำหรับคนชอบขับรถเข้าโค้งเร็วๆ และแซงประชิด ยังสู้ สปริงโด ไม่ได้ครับ
ใน STEP 5 นี้ยังไม่ได้เอาก้องรองหัวโช้คออก ในขั้นต่อไปจะลองเข้าก้อนรองหัวโช้คออก
ปรับเกลียวขึ้นมาอีกให้ได้ระยะ 2 นิ้ว การเข้าโค้งและแซงระยะประชิดหน้าจะทำได้ดีเท่า
สปริงโด
แต่ถ้าจะเล่น STD หรือ สปริงยก2 นิ้ว สำหรับขับ 2 ให้เล่นโด ครับ
แต่ขับ4 เล่น IRONMAN ก็ ok ครับ ทำมาเพื่อขับ 4 มากว่าขับ 2
มีเสียงแก้ไขได้
ไฟล์แนบ 264171ไฟล์แนบ 264172
ตัวอย่าง
ไฟล์แนบ 264173
ก้อนรอง
ไฟล์แนบ 264439
ไฟล์แนบ 264571
ใครรองหัวโช้คอยู่ ลองนำไปใช้ดูครับ ได้ผลครับ
STEP 6
1.ปีกนกยก 2 นิ้ว Auto4w ( เปลียนปีกนกยก )
2.โช้ค Profender โมโนซับแท้งค์ 4 ต้น
3.ก้อนรองแบบปรับองศา 2 นิ้ว
4.สเปเซอรรองเพลา
5.แหนบเสริม
6.สปริง IRONMAN STD 040s
ถึง ตรงนี้เอาหัวรองโช้คออก ปรับเกลียวดขึ้นให้ได้ 2-2.5 นิ้ว อาการจาก step 5 ที่เข้าโค้งแรงๆเร็ว ดีขึ้นมานิด
หนึง แต่ก็ยังไม่สามารถสู้สปริง โด ทีรองก้อน 1 นิ้วได้เลย
แต่ตอนนี้อยากได้ สปริงโด ยก 2 ส่วน IRONMAN ไม่ผ่านครับสำหรับผม
เดวมาต่อ..
สำหรับอุปกรณ์ ยก2นิ้ว
1.ปีกนกยก 2 นิ้ว Auto4w ( เปลียนปีกนกยก ) ราคา 11,000 บาทพร้อมติดตั้งและตั้งศูนย์
2.โช้ค (ด้านหน้าไม่เปลียนกีได้ ใช้รองหัวโช้ค ราคา 400-600 ) (ด้านหลังโช้ค ยก2นิ้ว 2600-3600 proferder)
3.ก้อนรองแบบปรับองศา 2 นิ้ว ของ option 2.2นิ้ว ราคา 2500ดี หรือก้อนรองทั่วไป 2นิ้วไม่ปรับ
องศาก้อนละ 150 2 ก้อน 300 บาท Auto4wมี ราคาไม่รู้
4.สเปเซอรรองเพลาที่ขายในเว็ปเรา 880-900บาท หนา 15mm
5.แผ่นเหล็กต่อน้ำมันและสาย ABS ประมาณ 100-200บาท Auto4w มี
เท่านี้ก็จบครับ ขับแบบสบายใจ เหมือนรถเดิมๆ ส่วนใครต้องการเปลียนอะไรเพิ่ม
ก็อยู่ที่ทุนครับ
รวมแล้วประมาณ 16000-18000 บาท ครับ กับยก2 นิ้ว
มือใหม่อยากให้เล่น STEP นี้ครับ ไม่เจ็บเลือดออก จมูก หู ปาก 55555
ขออนุญาติลงแบบเพื่อเป็นประโยนช์
15mm
ไฟล์แนบ 264572
20mm
ไฟล์แนบ 264573
25mm
ไฟล์แนบ 264574ไฟล์แนบ 264575
ไฟล์แนบ 264576
ไฟล์แนบ 264670
ไฟล์แนบ 264671ไฟล์แนบ 264672
สเปเซอร์เพลากลาง สำคัญอย่างไร
การยกที่ทำให้รถสูงขึ้นโดยใช้โช้ค รองก้อน แหนบยก โตงเตง และอื่นๆ
เมือสูงขึ้น เพลารถก็จะถูกดึงขึ้นน้อยบ้าง เยอะบ้าง ตามจุดประสงค์ที่ต้องการ
ทำให้เพลาหนี้ศูนย์ ที่เป็น มาตรฐาน ของรถ ถึงตรงนี้ ถามว่าจำเป็นไหม
ตอบเลยว่าจำเป็น 1 นิ้ว 2 นิ้ว 3 นิ้ว หรือสูงกว่านี้
จำเป็นต้องรองสเปเซอร์ทั้งนั้น เพราะการเคลื่อนตัวของรถ จะผิดไปจากเดิม
เพลาสวมท้ายเกียร์ จะถูกดึงออกมาโดยอัตโนมัติ
ไฟล์แนบ 264965
จะเกิดอะไรขึ้น
ผลกระทบที่ตามมาคือ ยางแท่งเกียร์ ตุ๊กตาเพลากลาง ประสิทธิภาพการขับขี่หายไป
กินน้ำมันขึ้น รอบสูงขึ้น
แล้วมีวิธีแก้ไขยังไง ที่เห็นผล ให้เป็นแบบเดิมๆ ที่สุด
1. ถ่ายรูปเก็บไว้
ไฟล์แนบ 264966
ไฟล์แนบ 264967
2. วัดระยะภายในปลอกเกียร์หรือใช้ปากาขีดเอาไว้เลยสำหรับเกียร์ธรรมดา
ส่วนเกียร์ ออโต ต้องวัดไว้
การยกสูงรถแต่ละคัน อาจสูงไม่เท่ากัน จึงไม่สามารถใช้สเปเซอร์ความหนาเท่ากันได้
หากใช้เท่ากัน ผลที่ออกมาก็จะแตกต่างกันไป
เมื่อใส่สเปเซอรเข้าไปแล้วสิ่งที่ได้มาคือ รถขับดีขึ้น ลื่นขึ้น ไม่กินน้ำมัน ไม่สั่นทุกกรณี
ต้องเหมือนเดิมๆที่สุด จึงถือว่าสเปเซอร์ที่ได้มาใช้ได้จริง
แล้วจะรู้ได้ยังไงว่าจะใช้ ความหนาเท่าไร
ใช้อุปกรณ์บ้านๆ สร้างขึ้นมาเองหรือไปปรับปรุงเพิ่มเดิมเอง
ใช้ด้วยกัน 4 ชุด น็อตชุดละ 3 ตัวเพื่ออีกข้างจะได้ยึดติด
ไฟล์แนบ 264968
ใช้ยึดทั้ง 4 รูของหน้าแปร ของเพลากลาง
หมุนน็อตทั้ง 4 ด้านเท่าๆ กัน จนถึงจุดที่เรากำหนดไว้ที่เพลาปลอกเกียร์
ได้ระยะก็วัด ความหนา ซึ่งแน่นอนวิธีนี้จะได้ สเปเซอร์ ที่ตรงกับความ
ต้องการที่ขาดหายไปจริงๆ อาจจะยุ่งยาก แต่จบจริง
ไม่ต้อง เดาเอา ประมาณเอา
ส่วนใครที่ใกล้ ร้านเหล็ก โรงกลึง ราคา ไม่เกิน 700 งานไม่พ่นสี
แบบก็มี ปรับความหนาได้ตามต้องการ ถ้าไม่ต้องการเสียเวลา
สั่งซื้อในเวปได้เลยครับ แต่ความหนาอาจได้ไม่ตรงกับค่าที่ขาดไป
***** รู้แค่งูๆปลาๆ ******
อย่าเก็บความรู้ไว้กับตัว แบ่งปัน ให้เพื่อน
ตอบ: รวมพล คนใช้ปีกนกยก 1.5-3 นิ้ว
ตั้ง 0 ง่าย อาการกระด้างนิ่มกว่าเดิม พวงมาลัยตึง ไม่วอกแวก ข้อเสียวามสูงไม่ได้เพิ่มจากเดิม ยังได้ความสูงเท่าเดิมเพราะปีกนกล่างมันสุด และมันจะงัดที่หัวเพลาใน
ตอบ: รวมพล คนใช้ปีกนกยก 1.5-3 นิ้ว
ขอติดตามความรู้ด้วยครับบบบบ
ตอบ: รวมพล คนใช้ปีกนกยก 1.5-3 นิ้ว
ตอบ: รวมพล คนใช้ปีกนกยก 1.5-3 นิ้ว
ตอบ: รวมพล คนใช้ปีกนกยก 1.5-3 นิ้ว
เข้ามาจดความรู้ด้วยคนครับ
ตอบ: รวมพล คนใช้ปีกนกยก 1.5-3 นิ้ว
1 ไฟล์แนบ
ตอบ: รวมพล คนใช้ปีกนกยก 1.5-3 นิ้ว
ไฟล์แนบ 264175
ใส่ปีกยกเหมือนกันตอนนี้รองหัวโช้คอยู่1นิ้วพวงมาลัยมันเบาๆมีวิธีแก้ปะคับ
ตอบ: รวมพล คนใช้ปีกนกยก 1.5-3 นิ้ว
ระยะขอบแม็กถึงโป่ง ด้านหน้าเท่าไร ด้านหลังเท่าไร ครับ
รถสวยครับ
ตอบ: รวมพล คนใช้ปีกนกยก 1.5-3 นิ้ว
กำลังอยากอยู่พอดีเลยตรับ...
ตอบ: รวมพล คนใช้ปีกนกยก 1.5-3 นิ้ว
อ้างอิง:
โพสต้นฉบับโดยคุณ
SM-TRITON
ระยะขอบแม็กถึงโป่ง ด้านหน้าเท่าไร ด้านหลังเท่าไร ครับ
รถสวยครับ
หลัง 88 cm หน้า 84 cmคับ วิ่งทางคอนกรีตนี่พวงมาลัยสั่นเลย
ตอบ: รวมพล คนใช้ปีกนกยก 1.5-3 นิ้ว
อ้างอิง:
โพสต้นฉบับโดยคุณ
chaowalit
หลัง 88 cm หน้า 84 cmคับ วิ่งทางคอนกรีตนี่พวงมาลัยสั่นเลย
ปกติครับ หน้าสูงขนาดนั้น ตั้งศูนยยาก หรืออาจไม่ได้เลย
แต่ถ้าจะให้ลดการกระแทก ให้ลองรองประเก็น หัวโช้คบน
และล่างดูครับ
ใส่สเปเซอรปีกนกด้วยหรือเปล่าครับ
ใช้โช้คยก 2 นิ้ว แล้ว สปริงอะไรครับ
ใส่สเปเซอรล้อหรือเปล่าครับ
แต่ถ้าหลังขึ้นอีกสัก 90cm กำลังดี
ตอบ: รวมพล คนใช้ปีกนกยก 1.5-3 นิ้ว
อีกหนึ่งเสียง. ปีกนก เฮียตือ. ขับดีขึ้นมากมายยืนยันว่าจบครับ
ตอบ: รวมพล คนใช้ปีกนกยก 1.5-3 นิ้ว
ต้องตามหามามั่งแล้วครับยอมรับว่าตอนนี้ขับไม่สนุกเลย พวงมาลัยเบาแปลกๆขับไกลเหนื่อยเพราะต้องประคองพวงมาลัย และขับถนนลูกรังสะเทือนได้ใจจริงๆ 55
ตอบ: รวมพล คนใช้ปีกนกยก 1.5-3 นิ้ว
ตอบ: รวมพล คนใช้ปีกนกยก 1.5-3 นิ้ว
อ้างอิง:
โพสต้นฉบับโดยคุณ
copter hummer
จัดเลยครับน้า
รีริวราคาการบริการ รวมติดตั้งด้วยครับ จะเป็นแนวทางการตัดสินใจ
เอารูปรถสวยมาลงบ้างครับ
ตอบ: รวมพล คนใช้ปีกนกยก 1.5-3 นิ้ว
ตอบ: รวมพล คนใช้ปีกนกยก 1.5-3 นิ้ว
จากการที่ผมใช่มา ดีขึ้นเยอครับแต่งบประมาณก็สูงตามครับ ปีกนกยกของเฮียตือพร้อมติดตั้ง 11,000 ครับพร้อมตั้งศูนย์เรียบร้อยเฮียเค้ายืนคุมงานเองเลยครับ สวนของผม ยุ่งยากหน่อยช่างจากที่เก่าประกอบโช๊คมาผิด ความสูงเลยต่างกัน 2ซ.ม. ไอ้เราก็ไม่รู้ 2 ซ.ม. มันจะมีผลกับการขับขี่แต่เฮียแกก็ไม่ยอมปร่อยผ่านไปครับ แก่แก่อยู่นั่นโดยวิธีดังนี้1สลับโช๊ค ซ้ายขวา พอสลับถึงรู้ว่า โชคน่าจะะกอบมาผิด2ถอดประกอบโช๊คใหม่อีกรอบ นั่นไง ร้านเก่าที่ผมเปลี่ยนโชคประกอบผิด3ตั้งศูนน์ ทีนี้ได้ละ ความสูงเหลือ ซ้ายสูงกว่าไม่ถึง 5มิล แต่เค้าก็หาอยู่นั่นหาอยู่นาน วัดโน้นวัดนี้ สุดท้ายเจอครับ. ช่างปีนขึ้นไปที่รถบอก (โถ่..น้ำมันหมดไฟโชว์เลย )งั้นที่เหลืออีกไม่ถึง 5 มิล พี่ไปเติมน้ำมันซักครึ่งถังนะ 555 เอาซะ ทั้งเฮียทั้งช่าง ปวดหัว เฮียถึงกับโทรไปสอบถาม สำนักงานใหญ่ไอร่อนแมน ให้เลย สุดท้าย น้ำมันหมด 55 ส่วนเรื่องการขับขี่ดีขึ้นมากครับ ขับมั่นใจขึ้นมากๆ ทำเสร็จเฮียแกก็พาไปลองรถเลย พอเจอคอสะพานเฮียบอก กดไม่ต้องเบรก ไ เราก็อยิกลองของโดดก็โดด....!!!!เฮ้ย....ทำได้ไงว๊ะไมิน่าเชื่อเปลี่ยนเป็นรถอีกคันเลย ยังไม่จบเข้ายูเทินไต้สะพานดินแดง เฮียบอกไม่ต้องเบรค กดส่งในโคงเลย เฮ้ย!!! บ้าแล้วดี่กว่าเดิม มากๆ เป็นข้อมูลให้เพื่อนๆครับ การยกมีหลายแบบครับ แล้วแต่งบครับพอเจอปัญหาก็ต้องแก้กันไปครับ อยู่ที่ว่าจะแก้ไขอย่างไรและวิธีไหนครับ ทุกวิธีดีตามลำดับงบประมาณครับ ผิดถูกอย่างไร ก็ขอให้น้าๆ ไว้พิจารณาครับ. ผมไม่ใช่ผู้รู้ครับเป็นแค่ผู้ใช้ครับ. ส่วนรูปตอนทำไม่ได้ถ่ายไว้เลยครับต้องขออภัยครับผิดถูกยังไงยินดีรับคำแนะนำครับ
ตอบ: รวมพล คนใช้ปีกนกยก 1.5-3 นิ้ว
อ้างอิง:
โพสต้นฉบับโดยคุณ
copter hummer
จากการที่ผมใช่มา ดีขึ้นเยอครับแต่งบประมาณก็สูงตามครับ ปีกนกยกของเฮียตือพร้อมติดตั้ง 11,000 ครับพร้อมตั้งศูนย์เรียบร้อยเฮียเค้ายืนคุมงานเองเลยครับ สวนของผม ยุ่งยากหน่อยช่างจากที่เก่าประกอบโช๊คมาผิด ความสูงเลยต่างกัน 2ซ.ม. ไอ้เราก็ไม่รู้ 2 ซ.ม. มันจะมีผลกับการขับขี่แต่เฮียแกก็ไม่ยอมปร่อยผ่านไปครับ แก่แก่อยู่นั่นโดยวิธีดังนี้1สลับโช๊ค ซ้ายขวา พอสลับถึงรู้ว่า โชคน่าจะะกอบมาผิด2ถอดประกอบโช๊คใหม่อีกรอบ นั่นไง ร้านเก่าที่ผมเปลี่ยนโชคประกอบผิด3ตั้งศูนน์ ทีนี้ได้ละ ความสูงเหลือ ซ้ายสูงกว่าไม่ถึง 5มิล แต่เค้าก็หาอยู่นั่นหาอยู่นาน วัดโน้นวัดนี้ สุดท้ายเจอครับ. ช่างปีนขึ้นไปที่รถบอก (โถ่..น้ำมันหมดไฟโชว์เลย )งั้นที่เหลืออีกไม่ถึง 5 มิล พี่ไปเติมน้ำมันซักครึ่งถังนะ 555 เอาซะ ทั้งเฮียทั้งช่าง ปวดหัว เฮียถึงกับโทรไปสอบถาม สำนักงานใหญ่ไอร่อนแมน ให้เลย สุดท้าย น้ำมันหมด 55 ส่วนเรื่องการขับขี่ดีขึ้นมากครับ ขับมั่นใจขึ้นมากๆ ทำเสร็จเฮียแกก็พาไปลองรถเลย พอเจอคอสะพานเฮียบอก กดไม่ต้องเบรก ไ เราก็อยิกลองของโดดก็โดด....!!!!เฮ้ย....ทำได้ไงว๊ะไมิน่าเชื่อเปลี่ยนเป็นรถอีกคันเลย ยังไม่จบเข้ายูเทินไต้สะพานดินแดง เฮียบอกไม่ต้องเบรค กดส่งในโคงเลย เฮ้ย!!! บ้าแล้วดี่กว่าเดิม มากๆ เป็นข้อมูลให้เพื่อนๆครับ การยกมีหลายแบบครับ แล้วแต่งบครับพอเจอปัญหาก็ต้องแก้กันไปครับ อยู่ที่ว่าจะแก้ไขอย่างไรและวิธีไหนครับ ทุกวิธีดีตามลำดับงบประมาณครับ ผิดถูกอย่างไร ก็ขอให้น้าๆ ไว้พิจารณาครับ. ผมไม่ใช่ผู้รู้ครับเป็นแค่ผู้ใช้ครับ. ส่วนรูปตอนทำไม่ได้ถ่ายไว้เลยครับต้องขออภัยครับผิดถูกยังไงยินดีรับคำแนะนำครับ
จบๆ กับปีกนกยก คงเหลือเก็บรายเอียดเล็กๆน้อยๆ
ตอบ: รวมพล คนใช้ปีกนกยก 1.5-3 นิ้ว
อ้างอิง:
โพสต้นฉบับโดยคุณ
SM-TRITON
ปกติครับ หน้าสูงขนาดนั้น ตั้งศูนยยาก หรืออาจไม่ได้เลย
แต่ถ้าจะให้ลดการกระแทก ให้ลองรองประเก็น หัวโช้คบน
และล่างดูครับ
ใส่สเปเซอรปีกนกด้วยหรือเปล่าครับ
ใช้โช้คยก 2 นิ้ว แล้ว สปริงอะไรครับ
ใส่สเปเซอรล้อหรือเปล่าครับ
แต่ถ้าหลังขึ้นอีกสัก 90cm กำลังดี
สเต็ปผมตามนี้คับ หลัง รองก้อนปรับองศา2.5นิ้ว+mx6 ยกสอง หน้า โลบัสยก2นิ้ว ปีกนกยก รองหัวโช้ค1นิ้ว สปริงเดิม สปเชอรเพลากลาง1นิ้ว
ไม่ได้ใส่สเปเชอรล้อคับ